Проект одноэтажного дома Дб-76
Площадь
87 м 2
Размер дома:
Этажей:
1
Спален:
0
Санузел:
0
Гараж:
Нет
Баня:
Нет
Терраса:
Нет
Панорамные окна:
Нет
Мастер-спальня:
Нет
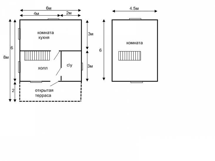
О проекте
Пространство, объединяющее семью. Планировка в пределах 87 м² подойдёт многим. Дом спроектирован в духе дома в классическом стиле. В качестве кровли использована рубероид — материал, проверенный временем. Одноэтажная просторная планировка организует пространство максимально эффективно.Характеристики
- Общая площадь: 87 м2
- Количество этажей: 1
- Стиль, разновидность: Дома в ином стиле
- Тип кровли: Дома с иной крышей
- Отделка: Без отделки










